Menu
×
Hello
Login or Register
Quick Links
Live Chat
Track Order
Parts Availability
RMA
Help Center
Contact Us
Shop for
Volvo Parts
Search Bar
Search by Part Number, Part Name, or Vehicle
My Garage
My Account
Cart
Volvo Parts
Contact Us
Help Center
Home
>
Volvo V90
>
2019
>
Parking Aid
Parking Aid fit your
2019 Volvo V90
Currently shopping for
2019 Volvo V90
Change Vehicle
Vehicle Options
4 Cyl 2.0 L GAS
Vehicle Options
4 Cyl 2.0 L GAS
Categories
Close X
Currently selected
Electrical
ABS Components
Air Bag Components
Alarm System
Antenna & Radio
Anti-Theft Components
Automatic Transaxle
Communication System Components
Cruise Control System
Electrical Components
Front Door
Front Seat Belts
Fuel Door
Fuse & Relay
Fuse Box
Heated Seats
Horn
Ignition Lock
Ignition System
Instruments & Gauges
Keyless Entry Components
Lane Departure Warning
Lift Gate
Mirrors
Navigation System
Parking Aid
Power Seats
Powertrain Control
Rear Door
Rear Seat Belts
Ride Control
Senders
Starter
Sunroof
Switches
Washer Components
Wiper & Washer Components
Wiring Harness
Other Categories
A/C & Heating
Air & Fuel Delivery
Belts & Cooling
Body & Hardware
Brakes
Charging & Starting
Driveline & Axles
Emission Control & Exhaust
Engine
Headlights & Lighting
Interior & Exterior Trim
Maintenance & Lubrication
Steering
Suspension
Transmission
Browse Categories
Categories
Close X
Currently selected
Electrical
ABS Components
Air Bag Components
Alarm System
Antenna & Radio
Anti-Theft Components
Automatic Transaxle
Communication System Components
Cruise Control System
Electrical Components
Front Door
Front Seat Belts
Fuel Door
Fuse & Relay
Fuse Box
Heated Seats
Horn
Ignition Lock
Ignition System
Instruments & Gauges
Keyless Entry Components
Lane Departure Warning
Lift Gate
Mirrors
Navigation System
Parking Aid
Power Seats
Powertrain Control
Rear Door
Rear Seat Belts
Ride Control
Senders
Starter
Sunroof
Switches
Washer Components
Wiper & Washer Components
Wiring Harness
Other Categories
A/C & Heating
Air & Fuel Delivery
Belts & Cooling
Body & Hardware
Brakes
Charging & Starting
Driveline & Axles
Emission Control & Exhaust
Engine
Headlights & Lighting
Interior & Exterior Trim
Maintenance & Lubrication
Steering
Suspension
Transmission
How to use OE catalog
8 diagrams found for the vehicle you selected.
Select your vehicle options to narrow down results.
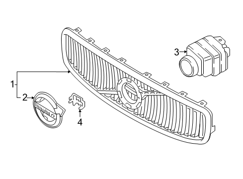
1.
Electrical Components (Camera System)
2.
Front Bumper & Grille - Electrical Components (Inscription)
3.
Front Bumper & Grille - Electrical Components (R-Design)
4.
Front Bumper & Grille (Inscription)
5.
Front Bumper & Grille (R-Design)
6.
Front Door - Outside Mirrors
7.
Lift Gate - Exterior Trim
8.
Rear Bumper - Electrical Components
Sort by:
Ref No.
Ref No.
Part No. & Part Description
Price & Qty.
Part No. &
Part Description
1
31425405
Grille
Part Notes: 2018-20, W/O Surround View
$598.97
$442.04
1
Add To Cart
1
31425406
Grille
Part Notes: 2018-20, W/Surround View
$598.97
$442.04
1
Add To Cart
1
32365386
Grille
Part Notes: 2018-20, W/O Surround View
$598.97
$442.04
1
Add To Cart
1
32365387
Grille
Part Notes: 2018-20, W/Surround View
$598.97
$442.04
1
Add To Cart
1
31663290
Mirror Assembly
Part Notes: W/O Cross Country, Fm Ch 42985, Code 8d08
Location: Driver Side
$770.78
$568.84
1
Add To Cart
1
31663297
Mirror Assembly
Part Notes: W/O Cross Country, Fm Ch 42985, Code 8d07
Location: Passenger Side
$770.78
$568.84
1
Add To Cart
1
31663299
Mirror Assembly
Part Notes: W/O Cross Country, Fm Ch 42985, Code 8d08
Location: Passenger Side
$770.78
$568.84
1
Add To Cart
1
31490098
Nameplate
Part Notes: "volvo"
Replaced By: 32440065
$65.43
$51.09
1
Add To Cart
1
31471005
Parking Sensor
Part Notes: 2018-20, Center;W/O Cross Country, Inner
$135.46
$90.15
1
Add To Cart
2
31383645
Emblem
Part Notes: 2018-20, W/O Front Camera
$128.82
$99.75
1
Add To Cart
2
31425216
Emblem
Part Notes: 2018-20, W/Front Camera
$128.82
$99.75
1
Add To Cart
2
31690007
Mirror Housing
Part Notes: W/O Cross Country, Fm Ch 42985, Code 8d08
Location: Driver Side
$524.29
$386.93
1
Add To Cart
2
31690014
Mirror Housing
Part Notes: W/O Cross Country, Fm Ch 42985, Code 8d07
Location: Passenger Side
$524.29
$386.93
1
Add To Cart
2
31690016
Mirror Housing
Part Notes: W/O Cross Country, Fm Ch 42985, Code 8d08
Location: Passenger Side
$524.29
$386.93
1
Add To Cart
2
31391019
Nameplate
Part Notes: "v90"
Replaced By: 32440064
$65.43
$51.09
1
Add To Cart
2
31471005
Parking Sensor
Part Notes: 2018-20, Outer;W/O Cross Country, Outer
Location: Driver Side;Passenger Side
$135.46
$90.15
1
Add To Cart
3
31445951
Front Camera
Part Notes: 2018-20
$540.22
$398.69
1
Add To Cart
3
30640908
Mirror Housing Screw
Part Notes: W/O Cross Country
Location: Driver Side;Passenger Side
$2.04
$1.60
1
Add To Cart
3
31333651
Nameplate
Part Notes: "t6"
Replaced By: 32440057
$65.43
$51.09
1
Add To Cart
3
31471048
Parking Sensor
Part Notes: 2018-20, Side
Location: Driver Side;Passenger Side
$135.46
$90.15
1
Add To Cart
3
31471049
Parking Sensor
Part Notes: 2018-20, Side
Location: Driver Side;Passenger Side
$135.46
$90.15
1
Add To Cart
3
31427286
Wire Harness
Part Notes: W/O Cross Country
$398.74
$306.23
1
Add To Cart
4
31665692
Blind Spot Radar
Part Notes: W/O Cross Country
Location: Driver Side
$1042.98
$861.51
1
Add To Cart
4
31665693
Blind Spot Radar
Part Notes: W/O Cross Country
Location: Passenger Side
$1042.98
$861.51
1
Add To Cart
4
32281512
Control Module
Part Notes: Camera System
$508.91
$335.88
1
Add To Cart
4
31383924
Front Camera Bracket
Part Notes: 2018-20
$22.82
$17.12
1
Add To Cart
4
31385218
Lower Cover
Part Notes: W/O Cross Country
Location: Driver Side
$55.20
$43.10
1
Add To Cart
4
31385219
Lower Cover
Part Notes: W/O Cross Country
Location: Passenger Side
$55.20
$43.10
1
Add To Cart
4
31333650
Nameplate
Part Notes: "t5"
$65.43
$51.09
1
Add To Cart
4
39847666
Parking Sensor Side Bracket
Part Notes: 2018-20
Location: Driver Side
$18.12
$13.59
1
Add To Cart
4
39847685
Parking Sensor Side Bracket
Part Notes: 2018-20
Location: Passenger Side
$18.12
$13.59
1
Add To Cart
5
31423869
Housing
Part Notes: Camera System
$148.47
$110.49
1
Add To Cart
5
31383244
Parking Sensor Center Bracket
Part Notes: 2018-20
Location: Driver Side
$18.12
$13.59
1
Add To Cart
5
31383245
Parking Sensor Center Bracket
Part Notes: 2018-20
Location: Passenger Side
$18.12
$13.59
1
Add To Cart
5
31424161
Seal
Part Notes: W/O Cross Country
Location: Driver Side
$22.50
$17.57
1
Add To Cart
5
31424162
Seal
Part Notes: W/O Cross Country
Location: Passenger Side
$22.50
$17.57
1
Add To Cart
5
31652057
Sensor
Part Notes: W/O Cross Country, Lift Gate Open
$306.72
$235.56
1
Add To Cart
6
30681674
Housing Retainer
Part Notes: Camera System
$2.04
$1.60
1
Add To Cart
6
31391835
Nameplate
Part Notes: "awd"
$65.43
$51.09
1
Add To Cart
6
30640862
Seal Screw
Part Notes: W/O Cross Country
Location: Driver Side;Passenger Side
$5.32
$4.15
1
Add To Cart
6
31499252
Wire Harness
Part Notes: 2018-20, W/O Front Park Aid
$65.43
$51.09
1
Add To Cart
6
31499260
Wire Harness
Part Notes: 2018-20, W/Front Park Aid
$96.10
$74.42
1
Add To Cart
7
31402869
Mirror Glass
Part Notes: W/O Cross Country
Location: Driver Side
$241.93
$161.00
1
Add To Cart
7
31402879
Mirror Glass
Part Notes: W/O Cross Country
Location: Passenger Side
$241.93
$161.00
1
Add To Cart
7
31416384
Nameplate
Part Notes: "inscription"
$65.43
$51.09
1
Add To Cart
8
31402888
Motor
Part Notes: W/O Cross Country, Code 8d02
Location: Driver Side
$151.32
$117.18
1
Add To Cart
8
31402889
Motor
Part Notes: W/O Cross Country, Code 8d05
Location: Passenger Side
$151.32
$117.18
1
Add To Cart
8
31424677
Motor
Part Notes: W/O Cross Country, Code 8d02
Location: Passenger Side
$151.32
$117.18
1
Add To Cart
8
31424678
Motor
Part Notes: W/O Cross Country, Code 8d05
Location: Driver Side
$151.32
$117.18
1
Add To Cart
8
31391873
Nameplate
Part Notes: "r-Design"
$65.43
$51.09
1
Add To Cart
9
31651691
Mirror Cover
Part Notes: W/O Cross Country, Matte Silver
Location: Driver Side
$309.46
$228.38
1
Add To Cart
9
31651692
Mirror Cover
Part Notes: W/O Cross Country, Matte Silver
Location: Passenger Side
$309.46
$228.38
1
Add To Cart
9
39849786
Mirror Cover
Part Notes: W/O Cross Country, Black Stone
Location: Driver Side
$309.46
$228.38
1
Add To Cart
9
39849787
Mirror Cover
Part Notes: W/O Cross Country, Primed
Location: Driver Side
$217.15
$161.60
1
Add To Cart
9
39849791
Mirror Cover
Part Notes: W/O Cross Country, Saville Gray
Location: Driver Side
Replaced By: 39849787
$217.15
$161.60
1
Add To Cart
9
39849793
Mirror Cover
Part Notes: W/O Cross Country, Crystal White
Location: Driver Side
$309.46
$228.38
1
Add To Cart
9
39849794
Mirror Cover
Part Notes: W/O Cross Country, Bright Silver
Location: Driver Side
$309.46
$228.38
1
Add To Cart
9
39849795
Mirror Cover
Part Notes: W/O Cross Country, Osmium Gray
Location: Driver Side
Replaced By: 39849787
$217.15
$161.60
1
Add To Cart
9
39849796
Mirror Cover
Part Notes: W/O Cross Country, Luminous Sand
Location: Driver Side
$309.46
$228.38
1
Add To Cart
9
39849798
Mirror Cover
Part Notes: W/O Cross Country, Mussel Blue
Location: Driver Side
$309.46
$228.38
1
Add To Cart
9
39849800
Mirror Cover
Part Notes: W/O Cross Country, Black Stone
Location: Passenger Side
$309.46
$228.38
1
Add To Cart
9
39849801
Mirror Cover
Part Notes: W/O Cross Country, Primed;W/O Cross Country, Saville Gray
Location: Passenger Side
$217.15
$161.60
1
Add To Cart
9
39849807
Mirror Cover
Part Notes: W/O Cross Country, Crystal White
Location: Passenger Side
$309.46
$228.38
1
Add To Cart
9
39849808
Mirror Cover
Part Notes: W/O Cross Country, Bright Silver
Location: Passenger Side
$309.46
$228.38
1
Add To Cart
9
39849809
Mirror Cover
Part Notes: W/O Cross Country, Osmium Gray
Location: Passenger Side
$309.46
$228.38
1
Add To Cart
9
39849810
Mirror Cover
Part Notes: W/O Cross Country, Luminous Sand
Location: Passenger Side
$309.46
$228.38
1
Add To Cart
9
39849812
Mirror Cover
Part Notes: W/O Cross Country, Mussel Blue
Location: Passenger Side
$309.46
$228.38
1
Add To Cart
9
39849814
Mirror Cover
Part Notes: W/O Cross Country, Ice White
Location: Driver Side
$309.46
$228.38
1
Add To Cart
9
39849816
Mirror Cover
Part Notes: W/O Cross Country, Onyx Black
Location: Driver Side
$309.46
$228.38
1
Add To Cart
9
39849817
Mirror Cover
Part Notes: W/O Cross Country, Ice White
Location: Passenger Side
$309.46
$228.38
1
Add To Cart
9
39849819
Mirror Cover
Part Notes: W/O Cross Country, Onyx Black
Location: Passenger Side
$309.46
$228.38
1
Add To Cart
9
39849820
Mirror Cover
Part Notes: W/O Cross Country, Denim Blue
Location: Driver Side
$309.46
$228.38
1
Add To Cart
9
39849821
Mirror Cover
Part Notes: W/O Cross Country, Pine Gray
Location: Driver Side
$309.46
$228.38
1
Add To Cart
9
39849822
Mirror Cover
Part Notes: W/O Cross Country, Denim Blue
Location: Passenger Side
$309.46
$228.38
1
Add To Cart
9
39849823
Mirror Cover
Part Notes: W/O Cross Country, Pine Gray
Location: Passenger Side
$309.46
$228.38
1
Add To Cart
10
31420107
License Bracket
$36.80
$28.73
1
Add To Cart
10
30674546
Temperature Sensor
Part Notes: W/O Cross Country
Location: Driver Side;Passenger Side
$55.20
$43.10
1
Add To Cart
11
986214
License Bracket Screw
Replaced By: 30746971
$2.04
$1.60
1
Add To Cart
11
31445951
Side Camera
Part Notes: W/O Cross Country
Location: Driver Side;Passenger Side
$540.22
$398.69
1
Add To Cart
12
31675542
Handle, Outside
Replaced By: 32394644
$214.69
$166.25
1
Add To Cart
12
31402886
Side Camera Retainer
Part Notes: W/O Cross Country
Location: Driver Side
$17.59
$13.74
1
Add To Cart
12
31402887
Side Camera Retainer
Part Notes: W/O Cross Country
Location: Passenger Side
$17.59
$13.74
1
Add To Cart
13
31391874
Handle, Outside Clip
$10.64
$8.31
1
Add To Cart
13
31498601
Signal Lamp
Part Notes: W/O Cross Country
Location: Driver Side
$79.76
$61.77
1
Add To Cart
13
31498602
Signal Lamp
Part Notes: W/O Cross Country
Location: Passenger Side
$79.76
$61.77
1
Add To Cart
14
30622742
Handle, Outside Screw
$7.76
$6.06
1
Add To Cart
15
31445951
Rear Camera
Part Notes: W/O Surround View
$540.22
$398.69
1
Add To Cart
16
32286665
Rear Camera
Part Notes: W/Surround View
Replaced By: 32433208
$495.49
$365.68
1
Add To Cart
17
31391859
Rear Camera Retainer
Part Notes: W/O Surround View
$3.69
$2.88
1
Add To Cart
18
31391859
Rear Camera Retainer
Part Notes: W/Surround View
$3.69
$2.88
1
Add To Cart